当前位置:首页 > 人口热点 > 热点图片 >

查人口网站_人口普查(2)

日期:2021-03-18 类别:热点图片 浏览:

png,5796x3462,581329b

今年6月以来,黑龙江纪委监委网站披露的审查调查人员

查人口网站_人口普查(2)

jpeg,300x531,22189b

1、访客的来源地和物理地址都能直观的反映出来;_ 2、能查看网站支持多少人同时在线,同一时间段具体访问了那些网站;_ 用户的来源可以用网站流量统计来反映,网站管理者可以根据访客的来源、访客点击率来适当增加或修改网站的

查人口网站_人口普查(2)

jpg,486x1012,99974b

△通过南京市人社局网站查询

查人口网站_人口普查(2)

jpeg,647x708,51328b

中国每一百万人口有608人在下载bt,bt使用人数和互联网用户总数的比例是0.12%.

查人口网站_人口普查(2)

png,282x603,7013b

以上就是中公金融人为大家整理的8月全国银行社会招聘信息汇总,供大家参考,如大家想看完整公告,可进入中公金融人网站进行查看.

查人口网站_人口普查(2)

jpeg,1849x1080,299751b

失业人员可根据查询到的名称、网址前往相关平台,进行失业金申领.

查人口网站_人口普查(2)

jpeg,829x1264,87066b

跨省异地就医参保人员住院医疗费用_ 如何结算?

查人口网站_人口普查(2)

jpg,581x1134,83276b

国家职业资格证书查询网站验证报告样例(图)

查人口网站_人口普查(2)

jpg,465x660,55916b

awwwards不仅仅是一个展示网页设计的网站,它邀请一些有地位的设计师、博客和机构组成一个多学科的评审小组对设计师的网页设计进行评分,大家可以查看获奖者及被提名人的作品,awwwards也会举办会议来嘉奖那些对网页设计做出贡献的获奖者,它也会帮助相关机构

查人口网站_人口普查(2)

jpg,469x550,30897b

卷钱跑路的国产手游,还骗了一波日本人

查人口网站_人口普查(2)

jpg,724x932,37339b

人社网络安全体系」

查人口网站_人口普查(2)

jpeg,861x1080,92390b

人人影视字幕组 因盗版视频被上海警方查处

查人口网站_人口普查(2)

jpg,756x957,186908b

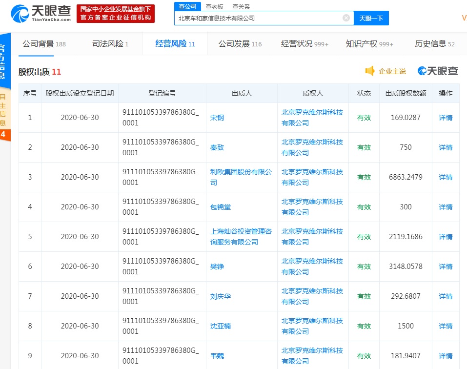
理想汽车股东出质股权 质权人公司法定代表人为李想

查人口网站_人口普查(2)

jpg,706x937,189322b

天眼查网站截图_ 天眼查数据显示,6月26日,奇虎_ 三六零_ 软件(北京)有限公司发生多项工商变更,周鸿祎卸任执行董事,董健明接任,法定代表人也由武成浩变更为董健明.

查人口网站_人口普查(2)

相关文章